订单管理
使用手册
广告管理
模板设置
数据库管理
插件管理
分销管理
积分管理
小程序直播
第三方账号注册流程
网站模块
商品模块
订单管理模块
供应商模块
数据模块
微商城模块
小程序&APP模块
常见问题
支付对接
API接口
购物车相关接口
开发手册
支付退款接口
视频教程
FB视频教程
首页 > B2C商城 > 使用手册 > 订单管理 > 正文
发票管理
平台位置:商城--订单--发票管理
用户提交发票信息。

点击保存即可,即可保存发票信息,提交订单后即可提交到后台发票管理。
注意:发票内容如果选择不开发票,这笔订单将没有发票信息提交。如果需要开发票,需要选择明细。
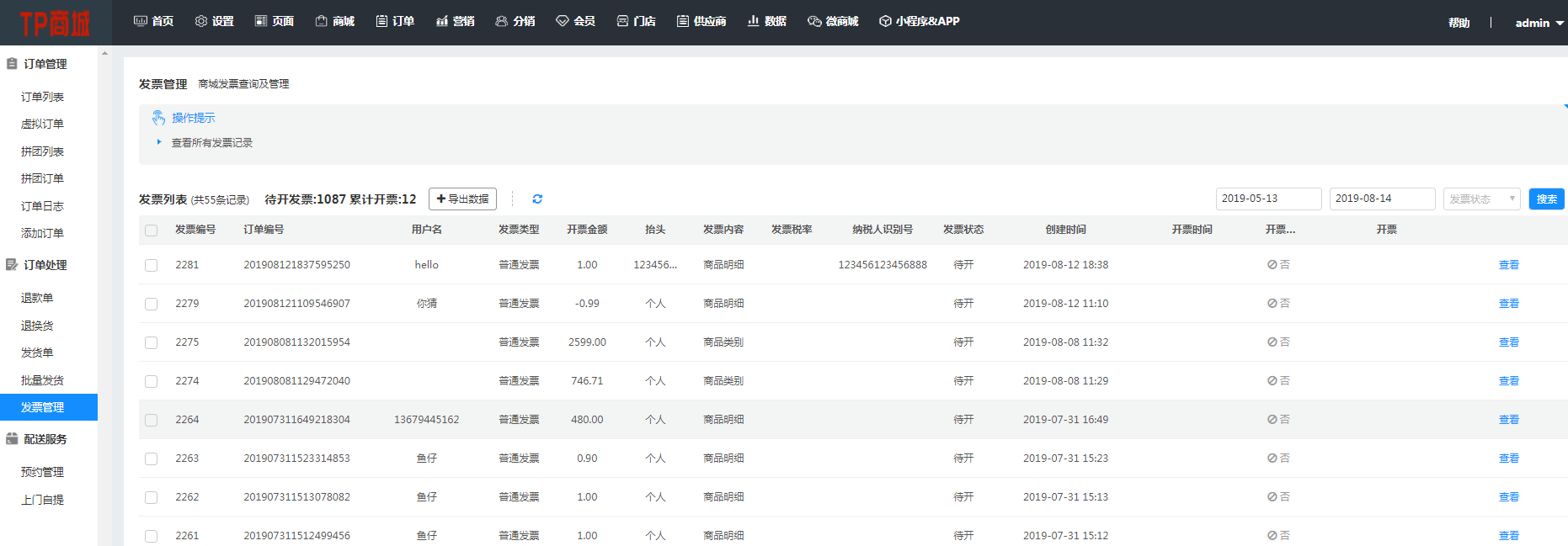
平台位置:订单--订单处理--发票管理
发票管理可管理发票状态,查看开票金额,发票抬头,纳税人识别号等发票重要信息。

如何管理发票状态:
发票开好以后,将最后“否”的状态改为“是”即可。发票状态就变为了已开。

