统计结算
使用手册
广告管理
模板设置
数据库管理
插件管理
分销管理
积分管理
小程序直播
第三方账号注册流程
网站模块
商品模块
订单管理模块
供应商模块
数据模块
微商城模块
小程序&APP模块
常见问题
支付对接
API接口
购物车相关接口
开发手册
支付退款接口
视频教程
FB视频教程
首页 > B2B2C商城 > 商家中心 > 统计结算 > 正文
商家订单结算
在总平台设置收货多少天后订单结算(系统--设置--商城设置--购物流程)
![Y%K19A_4])14}M5$CHZS8@2.png](/Public/upload/article/2025/12/12456789101115172021222.jpg)
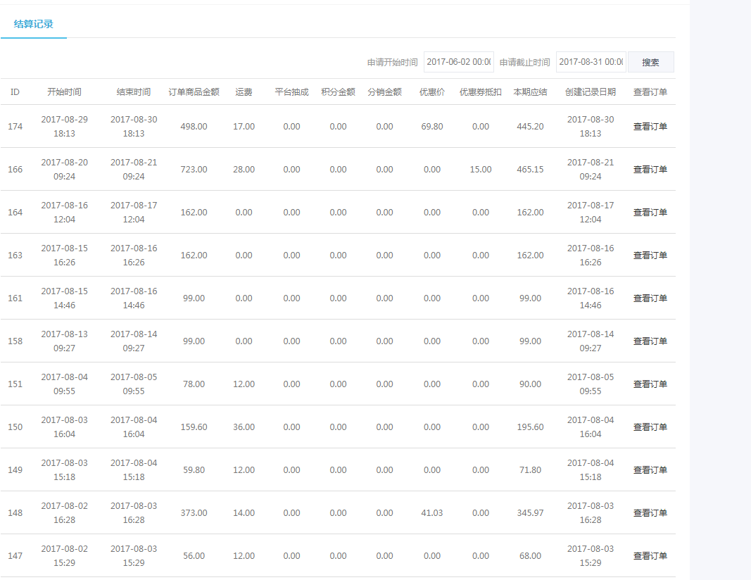
1,商家查看结算记录
(1)商家查看已结算订单记录。

也可以通过已结算记录查看相关订单
![EJ0RT@]$@19Y[2HPRLWSWLU.png](/Public/upload/article/2025/12/2357891112131416172123242.jpg)
![MRPUUS]V)6]XORL}0X((VC3.png](/Public/upload/article/2025/12/1781113141516181920212223242.jpg)
(2)商家查看未结算记录。

2,平台查看结算记录(全部店铺的订单结算记录)
平台查看结算订单

![0B~FP27VHL}B5V4OZ`]X720.png](/Public/upload/article/2025/12/356912131415171819202223242.jpg)
