统计结算
使用手册
广告管理
模板设置
数据库管理
插件管理
分销管理
积分管理
小程序直播
第三方账号注册流程
网站模块
商品模块
订单管理模块
供应商模块
数据模块
微商城模块
小程序&APP模块
常见问题
支付对接
API接口
购物车相关接口
开发手册
支付退款接口
视频教程
FB视频教程
首页 > B2B2C商城 > 商家中心 > 统计结算 > 正文
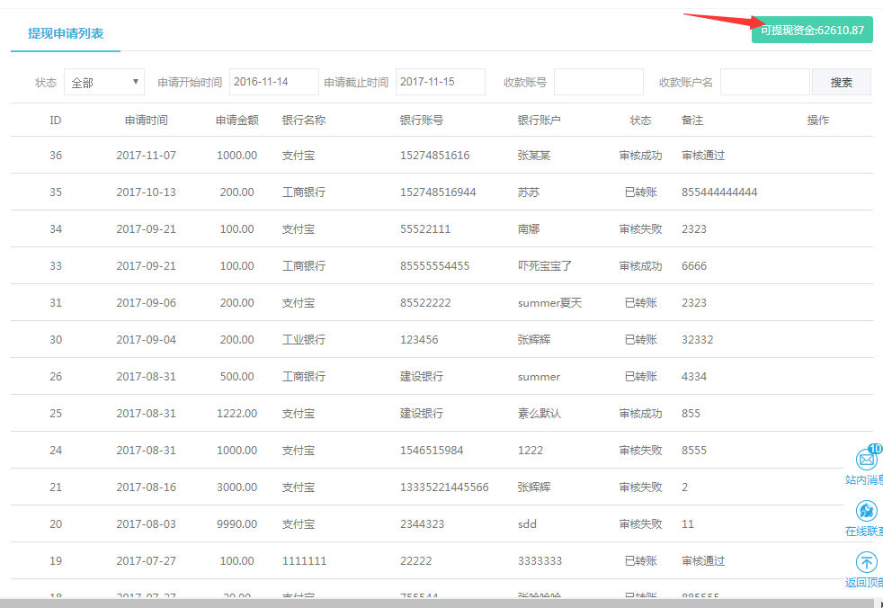
商家--商家提现
商家中心--统计结算--提现申请
商家可在商家中心申请商家提现(提现金额不能大于目前店铺可提现金额)
1,商家提现
![EKTASZ4`B]VE1KPI_4AMH(G.png](/Public/upload/article/2025/12/246910111213151617181920212.jpg)

提现申请提交成功以后,可在提现申请列表查看提现申请记录状态

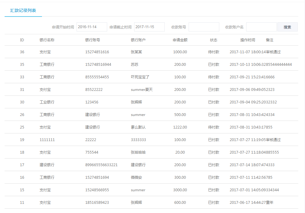
2,当平台审核提现申请成功以后,并且已经汇款以后,商家可在已汇款列表查看已汇款记录(统计结算--已汇款列表)
![X8C$9@NN{UM6@J{7FC]B)PM.png](/Public/upload/article/2025/12/123456910121314161820222.jpg)
