售后服务
使用手册
广告管理
模板设置
数据库管理
插件管理
分销管理
积分管理
小程序直播
第三方账号注册流程
网站模块
商品模块
订单管理模块
供应商模块
数据模块
微商城模块
小程序&APP模块
常见问题
支付对接
API接口
购物车相关接口
开发手册
支付退款接口
视频教程
FB视频教程
首页 > B2B2C商城 > 商家中心 > 售后服务 > 正文
商家--退款退货/换货流程
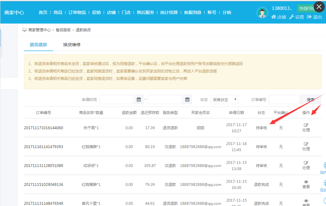
用户在前台申请售后(退货退款)

商家在商家中心处理用户的退款单。

![@T$T]0{5B00[VBE1$~Y]EQL.png](/Public/upload/article/2025/12/123457911121315161720222.jpg)
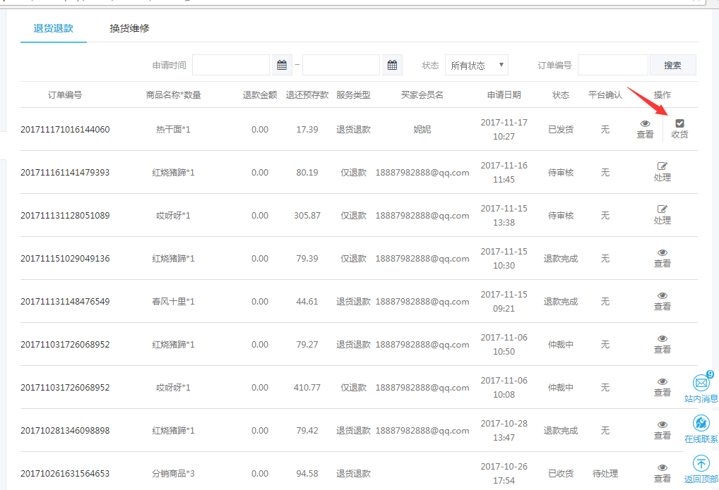
商家同意以后,需要用户将货物退回到商家处。
![~A5[BPIGTI1]K9`KYQ8K6YK.png](/Public/upload/article/2025/12/12456789121518192021232.jpg)
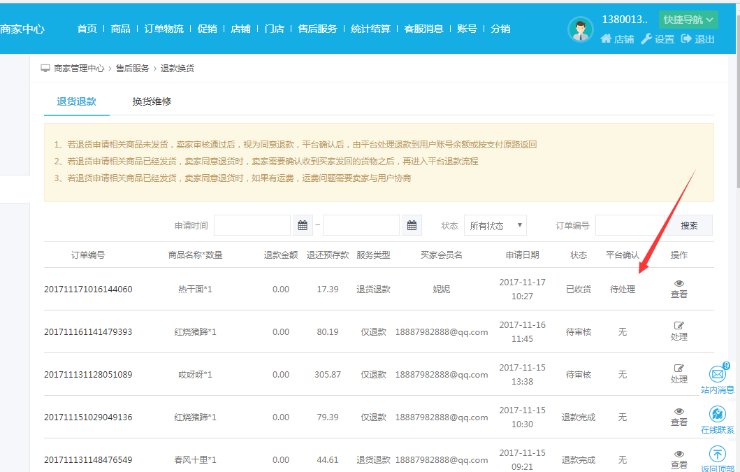
提交完成以后,商家在已收到货的情况下,需要选择收货。(必须要收到货以后才能操作哦)

![VHK@P998MLHW]O9K2V$Z4$D.png](/Public/upload/article/2025/12/134568912131920212223242.jpg)
收货以后,只需要等待总平台给客户退款即可。

换货流程在到用户退货到商家这一步,与退款退货流程基本一样。不过退货退款是在商家收到货以后,直接提交到总平台退货,而换货却是商家又再次把货物发货给用户,不经过总平台,不需要走退款流程
