商品管理
使用手册
广告管理
模板设置
数据库管理
插件管理
分销管理
积分管理
小程序直播
第三方账号注册流程
网站模块
商品模块
订单管理模块
供应商模块
数据模块
微商城模块
小程序&APP模块
常见问题
支付对接
API接口
购物车相关接口
开发手册
支付退款接口
视频教程
FB视频教程
首页 > B2B2C商城 > 使用手册 > 商品管理 > 正文
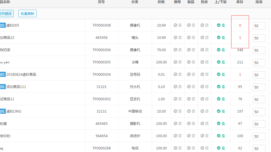
库存预警列表(单)
当商品库存少于商品库存预警数时,系统将会对这个商品进行预警。
那么库存预警的标准是什么呢?
1,首先我们需要设置一个库存预警数值(如没有设置该值,库存预警值默认为10)
路径:系统--基本设置--库存预警数(老版本)
商城--商品--库存管理--库存预警数(新版本)
当商品库存小于这个值时,商品列表页里库存直接显示为红色。并且生成一个商品库存预警列表。

商品预警:
商城--商品--商品列表(老版本)
商城--商品--商品列表(新版本)

然后所有库存低于预警数的商品,都会在库存预警里面列出来。并且平台可自主修改其库存,库存修改以后,自动同步到商品库存里。。
路径:商品--库存日志--库存预警(老版本)
商城--商品--库存管理--库存预警(新版本)

