运营管理
使用手册
广告管理
模板设置
数据库管理
插件管理
分销管理
积分管理
小程序直播
第三方账号注册流程
网站模块
商品模块
订单管理模块
供应商模块
数据模块
微商城模块
小程序&APP模块
常见问题
支付对接
API接口
购物车相关接口
开发手册
支付退款接口
视频教程
FB视频教程
首页 > B2B2C商城 > 使用手册 > 运营管理 > 正文
用户提现转款流程
在说了商家提现转款的流程以后,今天我们来了解一下用户提现转款。
1,用户在商城申请提现。(点击头像进入以下页面)


填写会员提现信息

信息添加成功以后,提交即可。
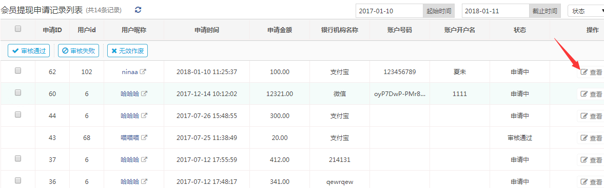
2,在总平台处理提现申请【统计--会员提现申请】

在“查看”里可以审核提现申请
![04K]E5XI48NSRL96EH]SPGA.png](/Public/upload/article/2025/12/123456810121315171922232.jpg)
![668KH})K)9(B9O2L4)]OSLX.png](/Public/upload/article/2025/12/35679101113141517181921222.jpg)
(1)提现申请在总平台审核成功以后,申请记录进入到会员转款列表里
![BI}YSMLB)NL~GB@G]GKZ3)D.png](/Public/upload/article/2025/12/134611121317181920212223242.jpg)
在“确认提交”以后,提现记录进入待转账记录列表里。【商城--运营--会员转款列表--待转账记录列表】
平台方可通过在线转账/手动转账两种转账方式完成用户转账。

用户转账完成以后,转账记录进入到已转账列表里。到这一步也就意味着用户的提现申请已经完成,系统也会在用户余额里扣除对应的余额。

(2)提现申请在总平台审核失败。

提现记录审核失败以后,提现申请的状态变为审核失败。提现记录也没有下一步操作。
![}}L]0(I{_`DJHE~U7C6J1H6.png](/Public/upload/article/2025/12/12346789101315161718212.jpg)
3,用户在商城查看提现记录。
用户申请提现以后,又可以在哪里看到提现记录呢?
(1)可以在商城PC端的个人中心--余额里查看,如图


(2)可在wap端个人中心--提现记录里查看

