运营管理
使用手册
广告管理
模板设置
数据库管理
插件管理
分销管理
积分管理
小程序直播
第三方账号注册流程
网站模块
商品模块
订单管理模块
供应商模块
数据模块
微商城模块
小程序&APP模块
常见问题
支付对接
API接口
购物车相关接口
开发手册
支付退款接口
视频教程
FB视频教程
首页 > B2B2C商城 > 使用手册 > 运营管理 > 正文
商家提现转款流程
1,首先商家提交提现申请(商家中心--统计结算--提现申请)![]$5(KR[WX8V))48[XFD{`CD.png](/Public/upload/article/2025/12/346810111213161719202223242.jpg)
提交以后,商家提现申请就提交到了平台。
2,平台审核提现申请
在商家提现申请(统计--商家提现申请
(1)平台审核提现申请通过以后,该笔提现申请进入待转账列表。

![2D`V8LO@N[IURVV]0R}RG{2.png](/Public/upload/article/2025/12/135678911121314151619202.jpg)
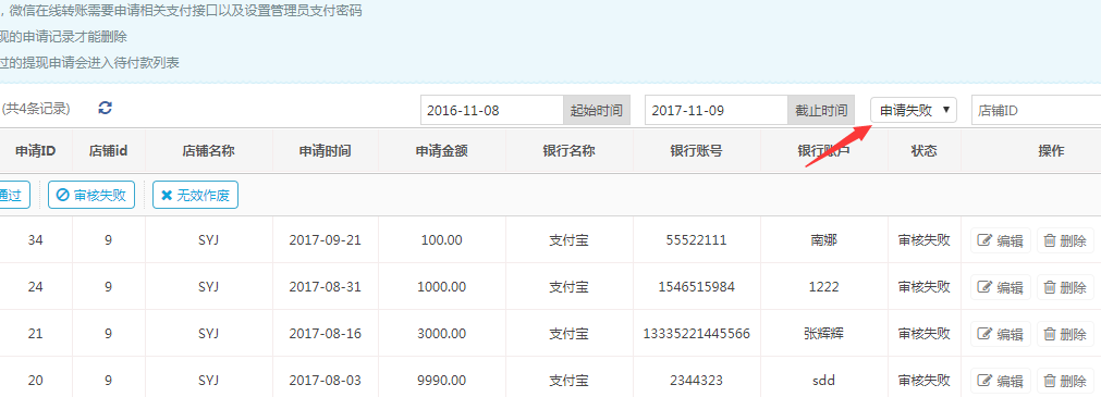
(2)平台审核提现审核失败

审核失败以后,在商家提现申请列表里,筛选“审核失败”的提现记录。可查看审核失败的提现记录。
![FE~9O]Q`J`ZIEB]GK%RRJ4V.png](/Public/upload/article/2025/12/1245681214151617181920212.jpg)
平台审核过以后,为了防止误操作,也可以重新审核。
![79)4)CK_4HAE5MH]WEI7YJK.png](/Public/upload/article/2025/12/123456710121415162021242.jpg)
![~IF0WW)HVB3XTOROMJV]ZPX.png](/Public/upload/article/2025/12/25679111213141516182021242.jpg)
3,当审核通过的提现申请进入到(商家转款列表--待转账列表)以后,平台就要给商家打款。
转账方式:在线转账是指直接在平台将钱转给商户
线下转账:通过线下方式(支付宝/微信/其他方式转账)只在平台做标记
![4DJ49]MI_XJ~Q`]2QQ2Z$(V.png](/Public/upload/article/2025/12/13456789101214161819212.jpg)
4,转账完成以后,提现申请进入到已转款列表

