促销管理
使用手册
广告管理
模板设置
数据库管理
插件管理
分销管理
积分管理
小程序直播
第三方账号注册流程
网站模块
商品模块
订单管理模块
供应商模块
数据模块
微商城模块
小程序&APP模块
常见问题
支付对接
API接口
购物车相关接口
开发手册
支付退款接口
视频教程
FB视频教程
首页 > B2B2C商城 > 使用手册 > 促销管理 > 正文
新人优惠券
对于新注册的用户,我们商城推出新人优惠券功能,新人优惠券怎么获得呢?
我们首先要注册一个用户,登录上之后首页有新人优惠券弹出


新人优惠卷怎么添加呢?
总平台位置:商城--营销--新人优惠券



信息填写完成之后就是上面那样了

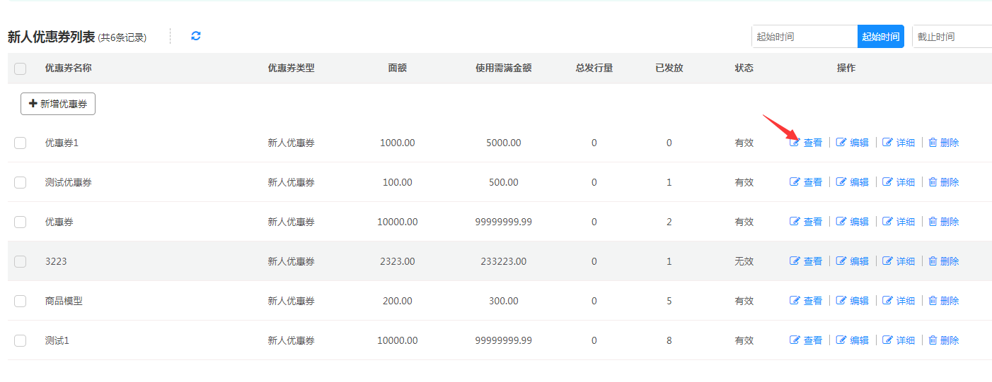
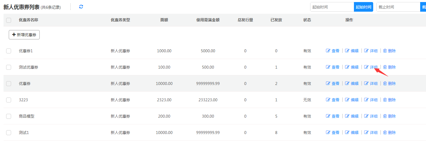
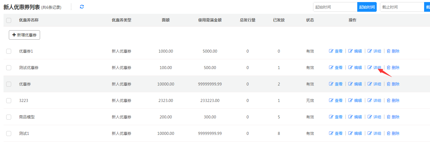
新人优惠券我们还可以对其进行一些其他的操作








新人优惠券领用了我们怎么看的到哪些人领用了呢


新人优惠券的选择类型可选择三种




我们在新增的时候优惠券设置了状态怎么显示呢


优惠券太多了我们怎么找呢

前台显示已领取的新人优惠卷
位置:我的--优惠券


