订单管理
使用手册
广告管理
模板设置
数据库管理
插件管理
分销管理
积分管理
小程序直播
第三方账号注册流程
网站模块
商品模块
订单管理模块
供应商模块
数据模块
微商城模块
小程序&APP模块
常见问题
支付对接
API接口
购物车相关接口
开发手册
支付退款接口
视频教程
FB视频教程
首页 > B2B2C商城 > 使用手册 > 订单管理 > 正文
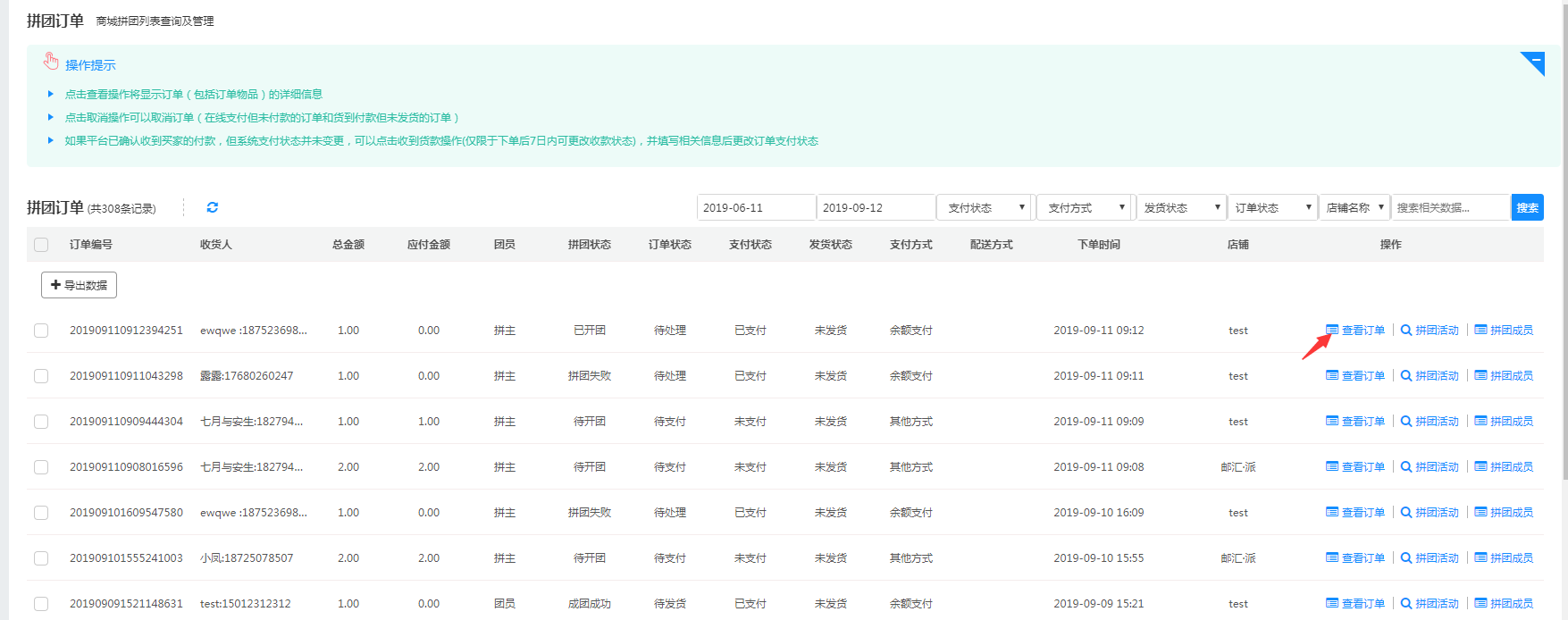
拼团订单
平台位置:订单--订单管理--拼团订单
上一篇拼团列表只能查看到所有的拼主订单,而在拼团订单里可以查看到拼主以及团员的所有订单。
拼团状态
待开团:拼主已下订单,但还未支付
拼团失败:超过成团有效期,还没凑够足够的团员,会自动标识失败
拼团成功:拼主在成团有效期内,凑够了足够的用户。

1,查看订单详情


2,查看拼团活动


