订单管理
使用手册
广告管理
模板设置
数据库管理
插件管理
分销管理
积分管理
小程序直播
第三方账号注册流程
网站模块
商品模块
订单管理模块
供应商模块
数据模块
微商城模块
小程序&APP模块
常见问题
支付对接
API接口
购物车相关接口
开发手册
支付退款接口
视频教程
FB视频教程
首页 > B2B2C商城 > 使用手册 > 订单管理 > 正文
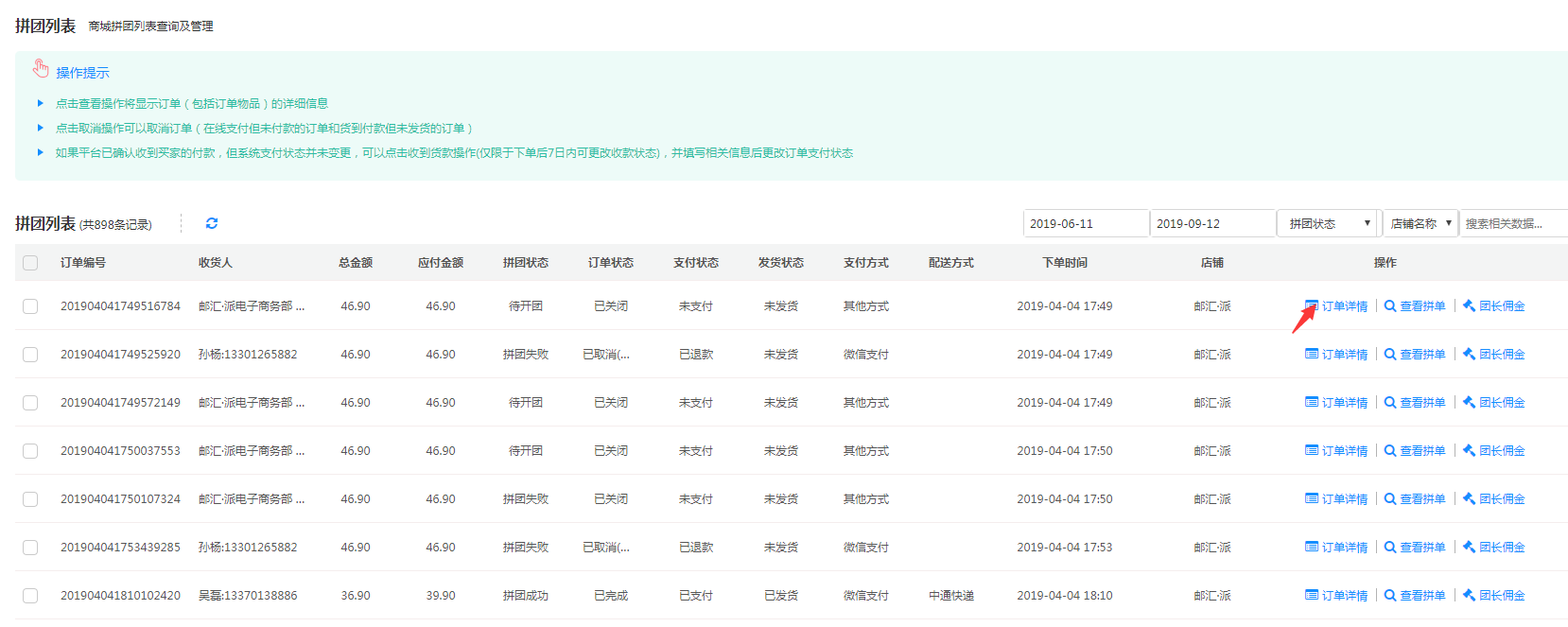
拼团列表
平台位置:订单--订单管理--拼团列表
拼团列表页展示所有的拼团团长订单。可查看拼团状态,收货信息,以及订单指定店铺等。

1,查看订单详情


既然是拼主,如何查看这一单团员订单信息呢?
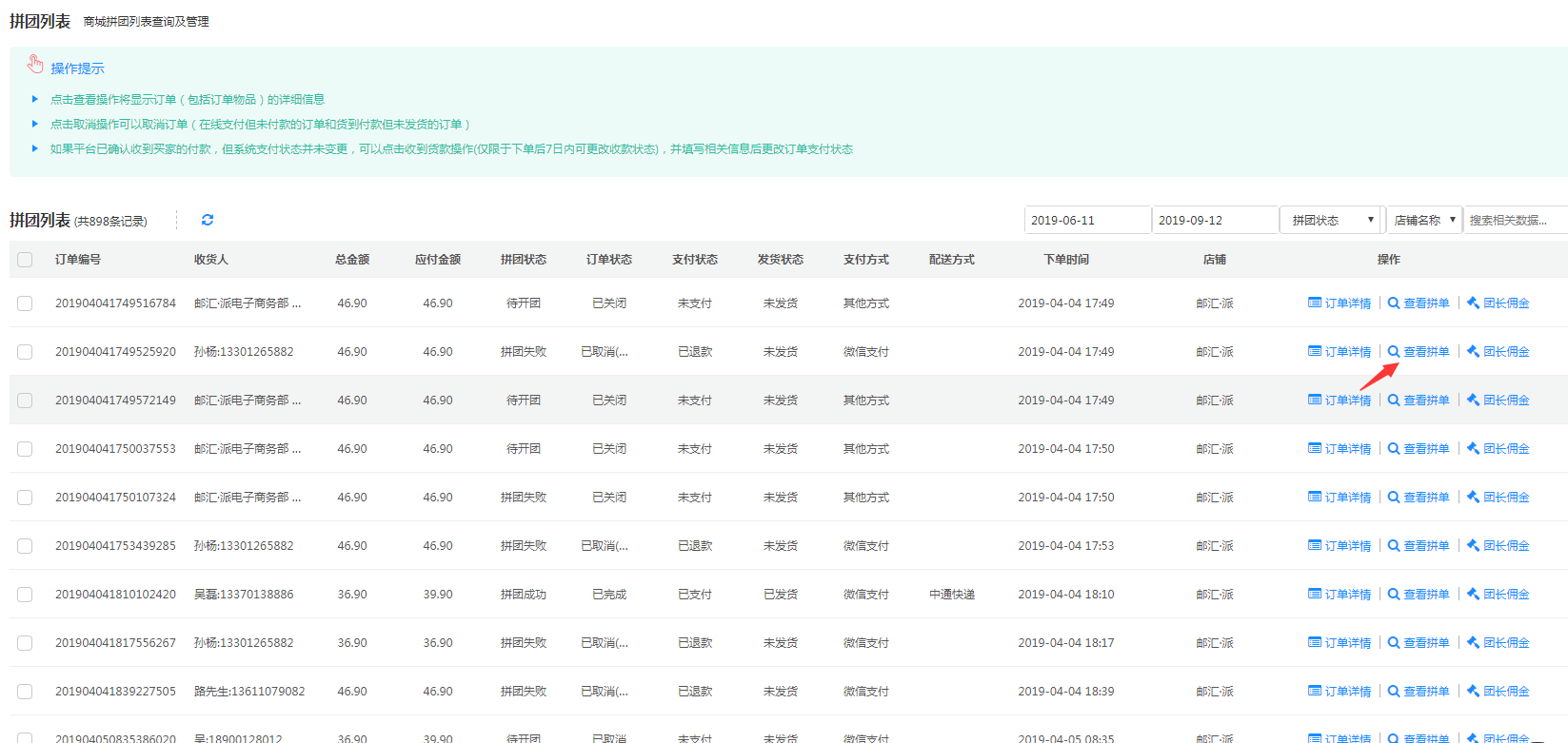
2,查看拼单详情

跳转到拼团订单列表

拼团订单列表也可以查看团员订单详情以及拼团活动。
(1)查看订单详情

![E@%41$FR_H_L]I~`FXCV8Z3.png](/Public/upload/article/2025/12/458910111213141819202122232.jpg)
(2)查看拼团活动
对于活动信息,平台同样只能查看,不能进行编辑操作。


什么是拼团活动?
这里只是简单解释一下,后面在讲到活动时,再进行详细描写。
如下图是拼团活动规则
![I}2I4AU]A]88YKC06ZWUW11.png](/Public/upload/article/2025/12/123468910111213161720232.jpg)
也就是说拼主是开团的用户,团员则是参与这个团的用户,根据活动规则,人满则成团,人不满到期则会在平台退款。
