店铺管理
使用手册
广告管理
模板设置
数据库管理
插件管理
分销管理
积分管理
小程序直播
第三方账号注册流程
网站模块
商品模块
订单管理模块
供应商模块
数据模块
微商城模块
小程序&APP模块
常见问题
支付对接
API接口
购物车相关接口
开发手册
支付退款接口
视频教程
FB视频教程
首页 > B2B2C商城 > 使用手册 > 店铺管理 > 正文
自营店铺
平台位置:商家--店铺管理--自营店铺
目前商城店铺分为两种,商家入驻和自营店铺。本篇我们要讲的的就是自营店铺。自营店铺属于平台方自营的店铺。
平台方可管理自营店铺,新建,删除以及通过相关条件筛选。

1,新建自营店铺。
因为是平台方自营,所以在平台新建账号以后就可以直接在商家中心登录,不需要进行审核等步骤。


点击“确认提交”即可创建自营店铺。
在商家中心登陆此自营店铺。

2,绑定所有类目。
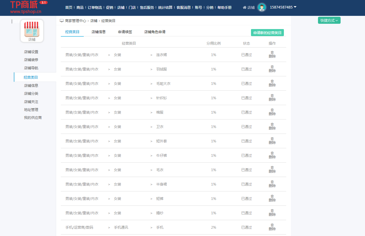
当绑定所有类目选择是“是”的时候,自营店铺不需要申请经营类目,即可使用所有的经营类目。

商家中心显示所有的经营类目:

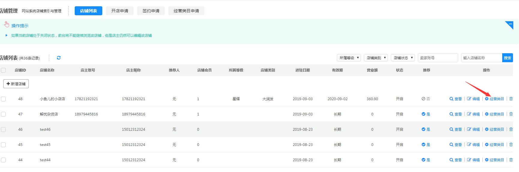
2,自营店铺,需要向平台申请经营类目。


3,删除自营店铺
自营店铺在删除以后,店铺账号也随之会被删除,无法再登录商家中心。(已添加商品的自营店铺不可以删除)

