店铺管理
使用手册
广告管理
模板设置
数据库管理
插件管理
分销管理
积分管理
小程序直播
第三方账号注册流程
网站模块
商品模块
订单管理模块
供应商模块
数据模块
微商城模块
小程序&APP模块
常见问题
支付对接
API接口
购物车相关接口
开发手册
支付退款接口
视频教程
FB视频教程
首页 > B2B2C商城 > 使用手册 > 店铺管理 > 正文
商家入驻流程
可通过后台新增及前台用户申请这2种方式添加店铺
一、用户前台申请入驻:
用户如果需要入驻店铺,首先需要在商城注册账号(没有申请过入驻过的账号),填写相关信息,提交到平台审核。
1,前台选择要入驻的商家类型(销售商/供货商)并填写入驻信息


(1)选择申请的类型(个人/企业)后填写信息(请认真填写入驻信息,平台会根据你的信息,评估审核店铺)
选择店铺类型:根据选择的店铺类型的不同,后面需要填写的信息也会有所不同。


(2)填写营业执照信息。
![B]X7XD78QHS]HO_]CH]GE%R.png](/Public/upload/article/2025/12/1234691112131415172021222.jpg)
(3)填写店铺信息。
选择店铺分类,比如店铺如果卖服装,就选择服装分类。
经营类目是指店铺所需要售卖商品属于的类目,选择后无法更改,只能店铺开启成功后,店铺向平台申请经营类目。

(4)填写身份证信息/结算银行账号
如果觉得有信息填写的不对,也可以返回上一步进行更改。
完成以后,点击保存资料。即可成功提交申请。

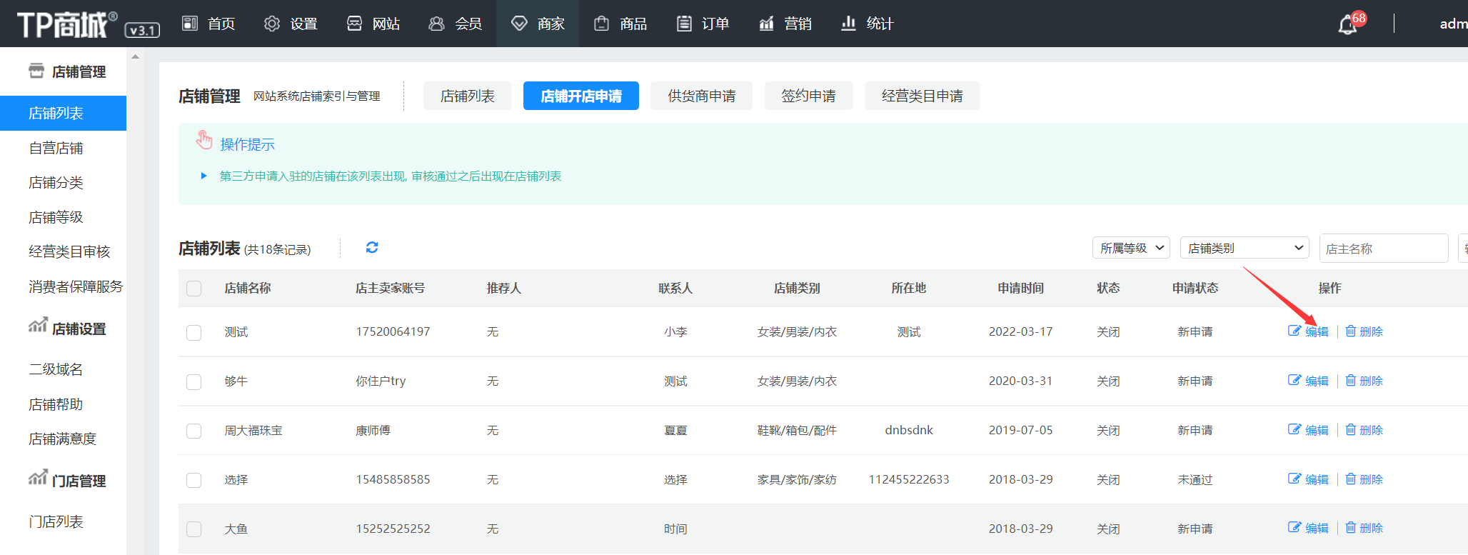
2,总平台在开店申请列表审核店铺。
平台位置:商家--店铺列表--店铺开店申请

(1)平台审核店铺:

可查看到店铺入驻者的所有信息,并且可根据这些信息审核评估。

确认审核结果,提交审核即可。
店铺审核通过以后,入驻者可登陆到店铺进行管理。

店铺审核失败以后,账号无法登录到店铺,入驻者可通过修改入驻信息重新提交审核。

二、后台新增店铺(路径:商家--店铺列表--新增店铺)
点击新增按钮后填写必要信息,最后点击保存按钮即完成添加


